Patent beschreibt Verlagerung des haptischen Feedbacks der Apple Watch in das Armband
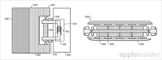
Bei allen Produktentwicklungen aus Cupertino ist in den vergangenen Jahren ein gemeinsamer Nenner zu erkennen: Das Streben danach, diese möglichst schlank zu gestalten. Dieser Schlankheitswahn, der hier und da auch schonmal zu diskussiosnwürdigen Designentscheidungen geführt hat, hat sich somit ein Stück weit auch zu einem Markenzeichen Apples entwickelt und soll künftig offenbar auch bei der Apple Watch zu Veränderungen führen. Dies legt zumindest ein Patent nahe, welches die Kollegen von AppleInsider ausgegraben haben. Dankenswerterweise soll die neue Schlankheit bei der Apple Watch dabei nicht durch eine Verkleinerung des Akkus oder sonstiger Komponenten erzielt werden, sondern durch eine Verlagerung des haptischen Feedbacks in das Armband. Genau dies beschreibt Apple nämlich in seinem Patent mit dem Namen "Band attachment mechanism with haptic response".

Durch die Verlagerung des Feedbacks in das Armband könnte Apple zudem das Nutzererlebnis verbessern, da sich auf diese Weise vollkommen neue Feedbacks umsetzen ließen, die zudem an verschiedenen Stellen des Armbands und damit des Handgelenks auftreten können. Fraglich ist allerdings, wie sich dies mit den Armbändern von Drittherstellern vertragen würde. Sollte man diese verwenden und haben diese keine Anbindung an die Taptic Engine integriert, wäre ein haptisches Feedback de facto nicht mehr vorhanden.
Kommentare
Ansicht der Kommentare: Linear | Verschachtelt
Hartmut am :
Kosta(s) am :
Denn es gibt genug jenseits der 200\u20ac
Alex am :
Auch wenn ich kein Freund von Spekulationen bin, passt das zu Apple.
Schade.
ProApple am :
So w\374rden diese ganzen Schrottarmb\344nder vom Markt verschwinden. \ud83d\udc4d
Hartmut am :
Gernot am :
Kosta(s) am :
Nur das Apple l\344sst sich besser tauschen, liegt aber an dem Material.
MrMikes am :
Erst dann macht eine smarte Uhr Sinn. Aber vielleicht machen sie ja Platz f\374r eine Nano-SIM.
Anonym am :
e-sim \ud83d\ude43