iPhone-Event Gerüchte-Roundup [UPDATE in den Bereichen iPhone 5S und iTunes 11.1]
iPhone 5S
Es gilt als sicher, dass Apple auf dem Event das iPhone 5S
präsentieren wird. Anders als in den vergangenen Jahren wurde dieses Jahr so gut wie gar nicht über den Namen des Geräts spekuliert. Man kann allerdings davon ausgehen, dass Apple seiner Tick-Tock-Taktik treu bleiben wird und dabei alle zwei Jahre ein komplett neues Gerät und dazwischen eine S-Version präsentieren wird.
Als markanteste Neuerung dürfte Apple dabei erstmals einen Fingerbadruckssensor verbauen, der das Ergebnis der Übernahme des Sicherheitsspezialisten AuthenTec im vergangenen Jahr sein dürfte. Allem Anschein nach wird sich dieser im Homebutton des Geräts verstecken. Gerüchte besagen hierbei, dass dieser künftig nicht mehr meachanisch, sondern berührungsempfindlich arbeiten könnte. Versehentliche Berührungen könnten dann, neben verschiedenen Authorisierungsfunktionen, ebenfalls von dem Sensor abgefangen werden. Um die Unterscheidung zum alten, mechanischen Homebutton herzustellen könnte Apple zudem einen helleren Ring um das Bauteil einführen, wie es kürzlich auf einer vermeintlichen Verpackung für das Gerät schon ansatzweise zu sehen war. Ob gemeinsamt mit dem Fingerabdruckssensor auch ein NFC-Chip Einzug ins iPhone 5S hält, ist derzeit noch unklar.
Eine weitere Neuerung dürfte das rückwärtige Kamerasystem betreffen. Hier ist neben einem neuen dualen LED-Blitz auch eine größere Blende im Gerüchtetopf. Beides zusammen soll vor allem bei schlechten Lichtverhältnissen und bei Innenaufnahmen für bessere Ergebnisse sorgen. Die Auflösung der Kamera soll sich hingegen gegenüber dem iPhone 5 nicht verändern und somit bei 8 Megapixeln bleiben. In Sachen Videoaufnahmen könnte Apple einen neuen Modus einführen, mit dem es möglich wäre, Zeitlupenaufnahmen zu machen.
Im Inneren des iPhone 5S dürfte ein neuer A7-Chip zum Einsatz kommen. Dieser dürfte zum einen leistungsstärker sein als der aktuell verbaute A6 und zudem unter Umständen auch 64-Bit-fähig sein. In Sachen Speicherkapazitäten könnte Apple die Stufung auf 32 GB, 64 GB und erstmals 128 GB anheben. Auch äußerlich könnte sich beim iPhone 5S etwas gegenüber seinem direkten Vorgänger tun. Kam dieser bislang ausschließlich in den Farben silber/weiß und slate/schwarz daher, verdichteten sich in den vergangenen Wochen, dass Apple das iPhone 5S zudem in den Farben champagner/weiß und silber/graphit anbieten könnte. Gerüchte um das Ende der schwarzen iPhones im Zusammenhang mit der Vorstellung von iOS 7 bewahrheiten sich offenbar jedoch nicht.
Weiterhin unklar ist, ob Apple mit dem iPhone 5S erstmals auch den schnelleren 4G-Standard LTE+ unterstützen wird. Entsprechende Gerüchte kamen bereits vor einigen Wochen auf. Mit der Ankündigung der Telekom, diesen Standard inzwischen auch hierzulande anzubieten, könnte da durchaus etwas dran sein.
Ein erneut größeres Display ist unterdessen nach der Vergrößerung von 3,5" auf 4" im vergangenen Jahr nicht zu erwarten. Es gibt zwar aktuell erneut Gerüchte wonach Apple dies vorhabe, dies werde aber auch nach Ansicht des Analysten Ming-Chi Kuo von KGI Securities frühestens im kommenden Jahr geschehen. Dann seien Displaydiagonalen zwischen 4,5" und 5" im Gespräch.
Mit der Vorstellung des iPhone 5S und des iPhone 5C (siehe unten) dürfte das Ende des iPhone 4S im Produktfolio gekommen sein. Apple wird somit künftig voll und ganz auf 4"-Display und Lightning-Connector setzen. Und
zwar in Form des iPhone 5 mit 16 GB, des iPhone 5S mit 32 GB, 64 GB und
128 GB und des iPhone 5C.
Schön und gut. Aber wann wird das iPhone 5S denn nun zu welchem Preis wo zu haben sein? Alle Gerüchte deuten momentan auf Freitag, den 20. September als Verkaufsstart in den Kernmärkten, zu denen neben den USA unter anderem auch Deutschland gehört. Verkauft wird es dann zum Einen in den deutschen Apple Retail Stores, zum anderen sicher auch bei verschiedenen Händlern und den Mobilfunkprovidern. Wahrscheinlich ist auch in diesem Jahr wieder eine Vorbestellphase, die vermutlich am Freitag nach dem Event, also am 13. September (wohl ab 09:00 Uhr) startet. Bei den Preisen erwarte ich keine Veränderung gegenüber dem iPhone 5. Vermutlich wird Apple dabei besonders herausstellen, dass man die Speicherkapazitäten verdoppelt und dennoch den Preis beibehalten habe.
UPDATE, 07. September um 21:45 Uhr: Jetzt wird's wild. In verschiedenen AppStores rund um die Welt tauchen merkwürdige Einträge auf den Seiten der Apple-Apps auf. So zeigt die iMovie-Seite im kanadischen AppStore aktuell den Zusatz an "This app is optimized for iPhone 6". Im neuseeländischen AppStore zeigt gar "This app is optimized for iPhone 7". Momentan würde ich eher davon ausgehen, dass es sich hierbei lediglich um einen Fehler handelt. Mehr wissen wir aber erst am kommenden Dienstag.
UPDATE, 09. September um 07:55 Uhr: Der auf dem Bild oben zu sehende, leicht modifizierte Homebutton mit seiner silbernen Umrandung hat inzwischen den Designer Martin Hajek dazu inspiriert, entsprechende Mockups zu erstellen, die durchaus sehenswert sind und das widerspiegeln könnten, was Apple morgen präsentieren wird. (via 9to5Mac) Eine ausführliche Galerie gibt es auf seiner Webseite, hier mal ein kleiner Vorgeschmack:

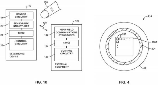
Wesentlich interessanter dürfte allerdings ein Patent sein, welches Apple kürzlich eingereicht hat. Dieses beschreibt nicht nur einen Fingerabdruckssensor, der passenderweise von einem Metallring umgeben wird, sondern auch noch mit NFC zusammenarbeitet. Patentanträge von Apple gibt es wie Sand am Meer und die wenigsten schaffen es am Ende in ein Produkt. Dennoch ist der aktuelle Zusammenhang durchaus bemerkenswert und könnte in dieser Form morgen vorgestellt werden. (via iFun)

UPDATE, 10. September um 07:05 Uhr: Kurz vor dem heute Abend stattfindenden Event "bestätigt" das Wall Street Journal noch einmal, dass das iPhone 5S (im Gegensatz übrigens zum iPhone 5C) über einen Fingerabdrucksscanner verfügen wird. Dieser soll sich vor allem durch seine Zuverlässigkeit auszeichnen, was als Schlüssel für eine breite Akzepanz und hohe Verbreitung gesehen wird.
iPhone 5C
Alle Anzeichen sprechen dafür, dass Apple in diesem Jahr gleich zwei neue iPhone-Generationen auf den Markt bringen wird. Neben dem oben erwähnten iPhone 5S dürfte es sich dabei um das iPhone 5C handeln. Dieses soll aus Kunststoff gefertigt sein und sich somit im unteren Preissegment platzieren. Nicht erst seit Apple die mit farbigen Sprenkeln verzierten Event-Einladungen verschickt hat, ist davon auszugehen, dass das iPhone 5C in verschiedenen Farben auf den Markt kommen wird.
Außer den Äußerlichkeiten wurde bislang allerdings recht wenig über das Gerät bekannt. Kurzzeitig kamen Gerüchte auf, wonach Apple als ein Abgrenzungsmerkmal dem iPhone 5C Siri vorenthalten könnte. Dies ist allerdings aufgrund der strategischen Bedeutung von Siri für Apple mehr als unwahrscheinlich. Wahrscheinlich sind hier jedoch Komponenten, die nicht dem neuesten, aber auch nicht dem alten Stand entsprechen, also vermutlich etwas aufgebohrte Kompontenten des Vorjahres-iPhone, in diesem Fall des iPhone 5.
Zunächst war man davon ausgegangen, dass Apple mit dem neuen Gerät eine günstige Variante seines Smartphones für Märkte in Asien oder Afrika einführen wird. Dies sehe ich inzwischen nicht mehr so. Und dies liegt nicht zuletzt am Preis, der ursprünglich im Bereich von $ 200,- bis $ 300,-, teilweise sogar bis runter auf $ 99,- gehandelt wurde. Bereits Anfang Mai hatten die Analysten von J.P. Morgan bereits mit der folgenden Grafik sehr anschaulich in den Raum gestellt, wo sich das Budget-iPhone ansiedeln könnte.
Gerüchte, wonach das iPhone 5C ausschließlich in China auf den Markt kommen könnte, halte ich für unwahrscheinlich. Das Gerät würde ohnehin auf den verschiedensten Kanälen in die Welt diffundieren, weswegen diese Strategie für Apple keinen Sinn ergeben würde. Der Verkaufsstart dürfte daher nicht nur zeitlich mit dem iPhone 5S übereinstimmen, sondern auch was die Märkte betrifft. Preislich sehe ich das Gerät ähnlich, wie in der oben zu sehenden Grafik.
iOS 7
iOS 7 stellt für Apple einen dramatischeren Einschnitt dar, als es die Meisten vielleicht auf den ersten Blick erkennen. Es ist das erste Mal, dass man komplett mit allen Designelementen bricht, die man seit der Vorstellung des ersten iPhone beibehalten hatte. Dies mag sich für den Nutzer sicherlich an der Oberfläche vor allem in Elementen des Flat-Design, wie schlankeren Schriften und puristischeren Icons äußern. Unter der Haube ist der Einschnitt jedoch deutlich tiefer. Diverse neue Paradigmen legen hier den Schluss nahe, dass Apple die Weichen in Richtung Zukunft stellt. Hierzu zählt unter anderem eine deutliche Unabhängigkeit von Displaygröße und Hardware. Als Stichwort sei hier nur der Begriff "Auto-Layout" genannt. All diese Weichen bedeuten für die Entwickler mehr Aufwand, als dies zunächst vielleicht für den Nutzer ersichtlich ist. Sie sind aber extrem wichtig, um iOS und damit auch die zugehörigen Geräte auf die Zukunft vorzubereiten.
Nachdem die neue Version auf der WWDC erstmals gezeigt wurde und die Entwickler seither mit dem Testen des Updates und der neuen Funktionen beschäftigt sind, wird Apple aller Wahrscheinlichkeit nach unmittelbar nach dem Event den GM-Build von iOS 7 an die Entwickler verteilen und wohl auch noch die eine oder andere neue und bislang unbekannte Funktion präsentieren. Sollte das iPhone 5S wie erwartet einen Fingerabdrucksscanner (und evtl. auch einen NFC-Chip) besitzen, dürfte sich die eine oder andere speziell hierauf zugeschnittene neue Funktion in die finale Version schleichen. In jedem Fall wird Apple auch die öffentliche Verfügbarkeit des Updates ankündigen. Sollte der Verkaufsstart des iPhone 5S, wie gemunkelt, auf den 20. September fallen, rechne ich mit der Freigabe der finalen Version von iOS 7 aus der Erfahrung heraus am Mittwoch zuvor, also am 18. September um 19:00 Uhr unserer Zeit.
iOS 7 wird eine ganze Reihe neuer Funktionen mitbringen, wobei ein Großteil davon, wie oben erwähnt, den meisten Nutzern vermutlich gar nicht auffallen werden. Neben den optischen Änderungen wird Apple so unter anderem den Funktionsumfang des Notification Centers und von Siri weiter ausbauen. Ob damit auch langsam mal das Ende der Beta-Phase einhergeht, ist jedoch unklar.
Ein von vielen Nutzern herbeigesehntes neues Feature ist sicherlich das Kontrollzentrum, welches sich künftig mit einem Wisch von der unteren Displaykante nach oben systemweit einblenden lässt. Hierüber hat man Zugriff auf verschiedene Funktionen wie das Aktivieren und Deaktivieren von Flugmodus, WLAN, Bluetooth, Bitte nicht stören, Rotationssperre oder Taschenlampe. Auch die Audio-Steuerung und das Regeln der Displayhelligkeit kann von hier aus geschehen. Zudem lässt sich aus dem Kontrollzentrum auch die neue AirDrop-Funktion ansteuern. Hiermit wird ein einfacher Dateiaustausch zwischen zwei iOS-Geräten möglich. Eine Anbindung an die entsprechende Funktion auf dem Mac dürfte nur eine Frage der Zeit sein.
Grundsätzlich ebenfalls in iOS 7 enthalten sein wird auch Apples neuer Streamingdienst namens iTunes Radio. Leider gilt dies allerdings bis auf weiteres nur für die USA. Die Funktion konnte mich bei meinen Tests mit einem amerikanischen iTunes-Account bereits überzeugen, so dass ich mir wünschen würde, dass Apple sich möglichst bald auch mit den hiesigen Rechteinhabern auf einen Deal einigen kann. Eine entsprechende Ankündigung auf dem Event wäre toll, ist aber vermutlich nur Wunschdenken.
Ohne jetzt hier auf alle neuen Funktionen, die Apple zudem auch auf seiner Webseite präsentiert, einzugehen, seien noch ein paar Worte zum Multitasking verloren. Der bisher durch einen Doppelklick auf den Homebutton am unteren Displayrand eingeblendete App-Switcher gehört mit iOS 7 der Vergangenheit an und hat mich bislang ohnehin nie richtig überzeugen können. Er wird nun erstetzt durch eine bildschirmfüllende Ansicht, die offenbar Screenshots der letzten Ansicht zeigt, in der eine App geschlossen wurde. Dies ist jedoch nur die halbe Wahrheit. Die Screenshots sind dank der neuen Multitasking-Funktionen von iOS 7, die nun erstmals allen Apps zur Verfügung stehen, nämlich durchaus dynamisch, können sich also während sich die App im Hintergrund befindet verändern. Nehmen wir als Beispiel mal meine App. Wird sie in der tabellarischen Übersicht der Artikel geschlossen, wird sie mit einem Screenshot hiervon in den AppSwitcher gelegt. Kommt jedoch ein neuer Artikel hinzu, wird dieser Screenshot im Hintergrund aktualisiert, so dass auch der neue Artikel oben in der Liste angezeigt wird. Dies bedeutet auch, dass die Artikel schon geladen wurden, bevor ihr die Push Notification erhaltet, was die lästigen Ladezeiten beim Öffnen vermeidet. Ehrensache, dass ich mit der neuen Version meiner App diese Funktion unterstützen werde.

Mach dem goßen und umfangreichen Update aus dem vergangenen Jahr dürfte für iTunes in 2013 eher Produktpflege anstehen. Dennoch wird es eine neue Version geben, die neben der Unterstützung von iOS 7 und die neuen iPhones vor allem auch iTunes Radio auf den Mac bringen wird. Auch hier gilt jedoch das der neue Streamingdienst vorerst ausschließlich in den USA angeboten wird. Auch auf dem Mac hat die Vorabversion aber einen guten Eindruck hinterlassen, so dass die Hoffnung auf eine baldige Einigung zwischen Apple und den Rechteinhabern groß ist. Wünschenswert wäre sicherlich auch eine neue, verbesserte Anbindung inkl. Sortierfunktion für Apps. Hierauf würde ich aber nicht warten.
UPDATE, 10. September um 07:05 Uhr: Plant Apple doch ein größeres Update seiner iTunes-Software? Wie mein Leser Nico (vielen Dank dafür!) herausgefunden hat, ist auf einem Screenshot der momentan als "Editors’ Choice" im Mac AppStore angebotenen Software Daisy Disk (€ 8,99) ein neues Icon zu sehen, welches offenbar iTunes zugeordnet werden kann und welches sich von den Farben her an denen der Musik-App unter iOS 6 orientiert. Ob hier lediglich getrickst wurde, muss sicherlich erst heute Abend zeigen. Ein deutlicherer Unterschied der Icons von iTunes und dem Mac AppStore wäre aber sicherlich wünschenswert.

![]()
Die iOS Musik-App Icons (links iOS 6, rechts iOS 7)
Apple TV
Seit jeher ordnet Apple seine Set-Top Box produkttechnisch den iPods zu. Insofern würde sich ein Herbst-Event für ein Update des einstigen Hobbies durchaus anbieten. Und passend dazu tauchten auch kürzlich Informationen zu mysteriösen Lieferungen auf, die dies nahelegten. Allerdings haben die in der Regel gut informierten Kollegen von AllThingsD inzwischen verlauten lassen, dass in der kommenden Woche nicht mit neuer Hardware zu rechnen ist.
Was aber wohl kommen wird, ist eine neue Version der Apple TV Software. Dies gilt nicht zuletzt deshalb als gesichert, da Apple bereits diverse Vorabversionen zum Testen an seine iOS-Entwickler verteilt hat. Neben der Kompatibilität mit iOS 7 und den neuen Geräten stecken hier aber auch verschiedene neue Funktionen drin. So findet sich neben der Integration von iTunes Radio und iTunes in der Cloud auch ein neuer "Konferenzraum-Modus" in den Einstellungen. Zudem wird es künftig auch wieder möglich sein, über das Apple TV Musik zu kaufen. Diese Funktion stand seit der ersten Generation des Geräts nicht mehr zur Verfügung.
Im Bereich des Möglichen liegt meiner Meinung auch eine Anpassung der Oberfläche der Apple TV Software an das neue Design von iOS 7. Zu rechnen ist mit dem Update dann wohl gemeinsam mit der Freigabe von iOS 7 am 18. September.
iPods
Jahrelang war Apples Herbst-Event die große Bühne zur Vorstellung der neuen iPod-Generationen. Spätestens jedoch seit der Hinzunahme des iPhone zu diesem Event wird es jedoch ruhiger um den iPod. Dies liegt sicherlich nicht zuletzt auch an den seit Monaten rückläufigen Absatzzahlen von Apples einstigem Zugpferd. Dennoch ist es schon bemerkenswert, dass es in diesem Jahr nicht einmal ansatzweise Gerüchte um neue iPods gibt. Im vergangenen Jahr hatte Apple immerhin dem iPod touch und dem iPod nano größere Updates verpasst. Die Frage stellt sich aber mehr und mehr, ob der iPod in Anbetracht der starken Konkurrenz durch das iPhone überhaupt noch eine langfristige Daseinsberechtigung hat.
So könnte der iPod touch auf kurz oder lang durch das günstige iPhone abgelöst werden. Bewahrheiten sich die Gerüchte, kommt das iPhone 5C in verschiedenen Farben auf den Markt. Ähnlich also wie beim iPod touch. So ziemlich das einzige wesentliche Unterscheidungsmerkmal bliebe dann noch die Telefonfunktion. Und der iPod classic wird ohnehin jedes Jahr aufs Neue totgesagt. Bleibt also abzuwarten, ob Apple dem iPod in diesem Jahr überhaupt noch Bühnenzeit auf seinem Herbst-Event einräumt.
Neue Macs
An und für sich glaube ich nicht so recht daran, dass Apple auf dem Event, das offensichtlich auf die Vorstellung des neuen iPhone zielt, auch der Mac-Familie Bühnenplatz einräumt. Einen solchen Produktmix hat man in der Vergangenheit immer versucht zu vermeiden. Allerdings warten sowohl der iMac und der Mac mini als auch das MacBook Pro nach wie vor auf die Umstellung auf Intels Haswell-Architektur. Und nicht zu vergessen, steht uns in diesem Herbst auch noch ein komplett neuer Mac Pro ins Haus.
Allerdings erwarte ich die neuen Modell aus der Erfahrung des vergangenen Jahres heraus erst auf dem iPad-Event im Herbst. Dann übrigens sehr wahrscheinlich auch gemeinsam mit OS X Mavericks, welches sich seit der WWDC im Juni in der Betaphase und damit in den Händen der Entwickler befindet. In der Vergangenheit hat Apple das Update seines Mac-Betriebssystems stets am Tag nach der Bekanntgabe seiner Quartalszahlen veröffentlicht. Dies steht auch im Oktober wieder an, so dass sich hier die Geschichte wiederholen könnte. Ich erwarte dies dann also für die zweite Oktoberhälfte.
AirPort Express
Im Juni hatte auf der WWDC neue Modelle der AirPort Extreme (€ 199,- im Apple Store) und der Time Capsule (ab € 299,- im Apple Store) vorgestellt, die nicht nur ein neues Design, sondern auch erstmals Unterstützung für den neuen WLAN-Standard 802.11ac mitbrachten. Was in dieser Familie noch fehlt, ist die AirPort Express, die aktuell noch in der alten Version in den Regalen steht. Inzwischen werden jedoch offenbar in den USA die ersten Lagerbestände für dieses Modell knapp und auch aus dem Apple Refurbished Store ist die alte Airport Express inzwischen komplett verschwunden. Insofern wäre es nicht weiter verwunderlich, sollte Apple auch die AirPort Express auf den neuen Standard aktualisieren. Eine Erwähnung auf dem Event würde vor allem dann Sinn machen, wenn Apple auch das neue iPhone mit einem entsprechenden Chip ausstatten würde.
Apple Software
Bei jedem Apple-Event kommen
auch immer wieder Spekulationen um Updates für die verschiedenen
Anwendungen von Apple auf. iTunes hatte ich dabei gesondert bereits
weiter oben angesprochen. Bleibt die Frage, was mit den Apps der iWork-
und iLife-Suite geschieht, die Apple in den vergangenen Monaten
einigermaßen stiefmütterlich behandelt hat. Seine iCloud-Webseiten wird Apple gemeinsam mit iOS 7 auf das neue Design anpassen. Sobald dies geschehen ist, stehen hier auch erstmals die drei iWork-Apps als reine Browser-Anwendungen unter dem Namen "iWork für iCloud" zur Verfügung. Seit der Präsentation dieser neuen Variante gibt es Gerüchte, wonach Apple künftig die Desktop- und iOS-Versionen von iWork (und evtl. auch iLife) kostenlos anbieten könnte. Eine entsprechende Ankündigung auf dem Event ist also nicht aus der Luft gegriffen. Funktionelle Updates für die iWork- und iLife-Suite erwarte ich allerdings eigentlich nicht.
Zum Abschluss der Gerüchteflut noch ein paar Worte in eigener Sache. Vor jeder Apple-Ankündigung sprießen die Gerüchte naturgemäß nur so aus dem Boden, was in den vergangenen Monaten immer mehr zu einer großen, fast schon überzogenen Erwartungshaltung geführt hat, die dann letzten Endes oftmals nicht erfüllt wurde, ja nicht erfüllt werden konnte. Zu sehen war dies unter anderem auch bei der Vorstellung des iPhone 5, bei dem von einigen nicht einmal ein komplett neues Design und ein größeres Display als ausreichende Neuerungen erachtet wurden. Selbstverständlich sind es letzten Endes auch Blogs wie meiner, die diese Erwartungshaltung schüren. Von daher möchte ich an dieser Stelle einmal deutlich darauf hinweisen, dass selbstverständlich nicht alle aufgekommenen und oben angesprochenen Gerüchte letzten Endes auch auf der Bühne des Events landen können und dazu apellieren, keine überzogenen Erwartungen in das Event zu stecken. Ich persönlich räume der Präsentation des iPhone 5S, iPhone 5C, von iOS 7 und iTunes Radio die größten Chancen ein. Ob es so kommen wird, bleibt jedoch natürlich abzuwarten...
Artikel Update Historie
07. September, 21:45 Uhr: Bereich iPhone 5S
09. September, 07:55 Uhr: Bereich iPhone 5S
10. September, 07:05 Uhr: Bereiche iPhone 5S und iTunes 11.1
Kommentare
Ansicht der Kommentare: Linear | Verschachtelt
Pom am :
Dodoooh am :
Alex am :
Alex am :
Jesper am :
Jesper am :
Flo am :
Jonas am :
Marco am :
airwolf am :
Marco am :
airwolf am :
Marco am :
Tobi am :
Marco am :
peter am :
Schön, dass Du wenigstens selbst an Dich glaubst und der Meinung bist "Kluges zu schreiben".
".....und jegliches Leben im Text"
Wahrscheinlich auch Deutsch in der Baumschule gelernt.
Halt Dich einfach raus!
Marco am :
BG-On am :
Ein ganz gewaltiger Unterschied!
Holger am :
JESUS am :
Würde mich mal interessieren was Flo dazu sagt...
Sunnyboy_94 am :
Marco am :
Matze am :
Blauegixxer am :
Klasse weiter so Flo
Jonas am :
Tobi am :
Holger am :
Wir essen, Oma!
Grammatik rettet Leben!
Steff am :
Ralf am :
laxe am :
Jonas am :
Fab0ne am :
Marco am :
Fab0ne am :
Marco am :
Nils am :
Aber immerhin gibt es einen so genialen Apple Blog der einem alles so fein serviert und vorgekaut auf dem Silbertablett vorlegt.
Vermont am :
Gerade die Leser, die meinen, dass ihnen durch die Wiederholungen Lebenszeit gestohlen wird, scheinen langjährige Leser zu sein. Welche Gründe könnte es dafür geben?
Für mich ist Flo's Weblog eine der wenigen seriösen Informationsquellen.
Dafür danke ich Flo.
Matze am :
Sinn? Infos über Apple,... bestanden, danke!
Kirill am :
Phil am :
Seb am :
Oder kann ich mittlerweile eine Festplatte anschließen???
Christian am :
TreCool8992 am :
Ralf am :
http://cl.ly/image/2V20393Q191l
Ronny am :
Ronny am :
Marco am :
Wäre geil gewesen. Aber ist ja leider nur ein Mockup - aber ein sehr gut umgesetztes!
Truschi am :
funktioniert das nicht nur unter iOS Geräten?
Truschi am :
Unilife am :
Gg am :
KS am :
Flo am :
esci am :
Jesper am :
Angelika am :
Luhe am :
Anonym am :
Marco am :
Markus am :
XRumerTest am :