Nachdem früher am Abend bereits bekannt wurde, dass Apple mit der Freigabe der finalen Versionen von iOS 10.3 und macOS 10.12.4, also vermutlich im März, auch weitreichende und vor allem ungemein sinnvolle Neuerungen im AppStore einführen wird. So bekommen die Entwickler ein neues API an die Hand, mit dem man den Nutzer innerhalb der App um eine Bewertung oder eine Rezension für die eigene App bitten kann. Geht der Nutzer hierauf ein, muss er nicht mal die App verlassen und in den AppStore geleitet werden, um sein Review abzugeben. Stattdessen legt sich ein View über die weiterlaufende App, der auch wieder verschwindet, sobald man seine Tätigkeiten abgeschlossen hat. In den Einstellungen kann der Nutzer aber diese Bitten der Entwickler global unterbinden.
Doch auch darüber hinaus hat Apple noch einige interessante Details implementiert. So begrenzt Apple die Anzahl der Anfragen durch die Entwickler nach einer Bewertung seiner App auf drei pro Jahr. Hat ein Nutzer bereits ein Review für die aktuelle Version hinterlassen, tauchen die Anfragen ebenfalls nicht mehr auf. Gleiches gilt, wenn der Nutzer die Anfrage drei Mal unbeantwortet geschlossen hat.
Unter iOS verfügen die bereits abgegebenen AppStore-Bewertungen künftig auch um eine 3D Touch Funktion. Ein starker Druck auf eine Bewertung fördert nun ein Pop-Up zu Tage, über das man diese als "Hilfreich" oder "Nicht hilfreich" kennzeichnen oder ein Problem dieser Bewertung melden kann. Das Netz ist sich bereits einig. Mit iOS 10.3 wird Apple somit die besten Neuerungen seit Jahren im AppStore einführen. Danke dafür!

Während Apple am heutigen Abend die ersten Betaversionen von iOS 10.3, macOS 10.12.4 und tvOS 10.2 veröffentlicht hat, fehlte eine neue Beta für das vierte Betriebssystem, nämlich watchOS. Bereits verfügbar für das bislang unveröffentlichte watchOS 3.2 sind allerdings die Releasenotes, in denen sich eine interessante Neuerung verbirgt. Während die Gerüchteküche ursprünglich für iOS 10.3 einen "Theater Mode" erwartet hatte, taucht dieser nun in den angesprochenen Releasenotes für das kommende watchOS-Update auf. Apple beschreibt das Feature als Funktion mit der es dem Nutzer möglich ist, das Display der Apple Watch schwarz zu schalten und die Raise-to-Wake Funktion zu aktivieren und so zu verhindern, dass sich das Display bei Armbewegungen ungewollt einschaltet.
Weiterhin aktiv bleibt das haptische Feedback, so dass man beispielsweise über eingehende Nachrichten informiert wird, ohne dass sich das Display aktiviert. Dies kann man anschließend jedoch manuell auslösen, indem man auf den Screen tippt oder die digitale Krone betätigt. Angeblich soll der Theater Mode bereits in watchOS 3.1.3 enthalten, aber offenbar noch nicht für den Nutzer aktiviert gewesen sein.
Ebenfalls neu in watchOS 3.2 wird SiriKit mit an Bord sein, so dass Nutzer künftig die Möglichkeit haben, Siri um Dinge zu bitten wie beispielsweise das Versenden von Nachrichten oder Micropayments, das Buchen von Uber-Fahrten, das Auslösen eines Anrufs oder das Durchsuchen der Fotos-Mediathek. Auf dem iPhone und dem iPad hatte Apple diese Funktion bereits mit iOS 10 eingeführt und holt dies nun offenbar auf der Watch nach. Die erste Beta dürfte wohl in Kürze freigegeben werden.
Neben den ersten Betas von iOS 10.3 und macOS Sierra 10.12.4 hat Apple am heutigen Abend auch ein neues, bereits seit einiger Zeit nachgefragtes Feature für den AppStore angekündigt. So wird für Entwickler künftig die Möglichkeit bestehen in ihre Apps eine native Möglichkeit einzubauen, die Nutzer um eine Bewertung oder ein Review im AppStore zu bitten. Das neue zugehörige API hört dabei auf den Namen SKStoreReviewController und wird gemeinsam mit den finalen Versionen von iOS 10.3 und macOS Sierra 10.12.4 (vermutlich im Maärz) im AppStore zur Verfügung stehen. Der Anwender hat allerdings die Möglichkeit, diese Bitte per Schalter in den AppStore-Einstellungen zu unterbinden. Tut er dies nicht, verbleibt er während der Abgabe des Reviews bzw. der Bewertung weiterhin in der App und wird nicht in den AppStore geschickt. Stattdessen legt sich ein entsprechender View über die App.

Ebenfalls, vor allem von Seiten der Entwickler oftmals nachgefragt ist die Möglichkeit, auf Feedback und Fragen in den AppStore-Bewertungen zu reagieren. Diese Reaktion ist anschließend dann auch für alle Nutzer im AppStore sichtbar. In der Tat stellt diese Neuerung einen wichtigen Quantensprung für die Entwickler dar, die bislang keine Möglichkeit hatten, auf falsche und für andere Nutzer irreführende Nutzermeldungen oder auch Fragen in den AppStore-Bewertungen zu reagieren. Die Neuerung wird sowohl im AppStore unter iOS, als auch unter macOS eingeführt.
Frei nach dem Motto nach den Betas ist vor den Betas hat Apple unmittelbar nach der gestrigen Beendigung der Betaphasen von macOS Sierra 10.12.3 und iOS 10.2.1 bereits die nächste Testphase gestartet. Und dieses Mal geht es auch ein wenig mehr ans Eingemachte. Zwar ist in der ersten Beta von iOS 10.3 (noch) nicht der hier und da in der Gerüchteküche gehandelte "Theatre-Mode" enthalten, bei dem es sich um eine Art dunkles Farbprofil handeln soll, welches vor allem in Umgebungen mit wenig Licht (zum Beispiel in einem namensgebenden Kino) für eine bessere und augenschonende Nutzbarkeit sorgt. Dafür findet man in der "Mein iPhone finden" App aber nun eine neue Funktion "Meine AirPods finden", die genau das tut, was der Name schon vermuten lässt. Zudem kann man die AirPods über die Funktion dazu bewegen, zum leichteren Auffinden einen Ton von sich zu geben, sollten sie sich in der Reichweite des iPhone befinden.
Weitere bereits entdeckte Neuerungen in iOS 10.3 umfassen einen neue Nutzersicherheit-Bereich in den Einstellungen und eine erweiterte Unterstützung für HomeKit-Produkte. Zudem stellt Apple mit dem Update das Dateisystem auf das Apple File System (APFS) um. Apple warnt in diesem Zusammenhang, dass die Daten zwar automatisch konvertiert und übernommen werden, man aber vor dem Update unbedingt ein Backup anfertigen sollte. Die finale Version von iOS 10.3 darf wohl für März und dem dann erwarteten iPad-Event erwartet werden.
Auch das nächste Update für macOS Sierra auf Version 10.12.4 kann in seiner ersten Beta geladen werden und implementiert dabei eine aus iOS bekannte Funktion nun auch auf dem Mac. Die Rede ist von "Night Shift". Hiermit kann man künftig einen Zeitraum festlegen, in dem der Mac sein Display in wärmere Farben taucht, was vor allem für einen besseren Schlaf sorgen soll, wenn man den Mac unmittelbar vor der Schlafenszeit nutzt. Zudem kümmert sich Apple um Verbesserungen im Zusammenhang mit dem PDFKit-Framework, welches seit macOS Sierra für verschiedene Probleme gesorgt hatte.
Ebenfalls zum Download bereit stehen die ersten Betaversionen von tvOS 10.2 und Xcode 8.3. Sämtliche Updates können aktuell bereits von registrierten Entwicklern geladen werden. Die Teilnehmer am Public Beta Programm werden sich vermutlich noch ein paar Tage gedulden müssen, ehe die Updates auch ihnen angeboten werden.
Auch am heutigen Dienstag lockt der Apple-Händler Cyberport wieder mit einem spannenden Angebot in seinem Cybersale. Dort lässt sich aktuell und nur in begrenzter Stückzahl von 50 Exemplaren das aktuelle iPad mini 4 in der Variante WiFi + LTE und 16 GB Speicherplatz in Silber für nur € 379,- erwerben. Damit liegt der aktuelle Preis um € 40,- unter den normalerweise veranschlagten € 419,-. Der Rabatt wird erst am Endes, kurz vor dem abschließenden Bezahlvorgang abgezogen, also nicht wundern, wenn zunächst noch der reguläre Preis angezeigt wird. Wie gehabt, verlangt Cyberport darüber hinaus auch keine Versandkosten für den Standardversand. Neben der Begrenzung der Geräte in dieser Aktion auf 50 Stück gilt dieses Angebot noch bis morgen früh um 09:00 Uhr. Eventuell handelt es sich hierbei um eine der letzten Gelegenheiten das aktuelle iPad mini günstig zu bekommen. Gerüchtehalber soll Apple das Gerät noch in diesem Jahr einstellen. Der folgende Link führt direkt zur Angebotsseite bei Cyberport: iPad mini 4 im Cyberdeal

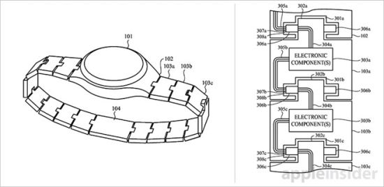
Bereits vor einiger Zeit wurde spekuliert, dass Apple künftig auch das Armband seiner Apple Watch dazu nutzen könnte, um verschiedene Funktionen und Sensoren aus dem eigentlichen Gehäuse auszulagern und direkt am Handgelenk zu platzieren. Neue Patente stützen nun die Spekulationen um dieses Bestreben. So beschreibt Apple in einem der aktuell veröffentlichten Patente (via AppleInsider) "Modular functional band links for wearable devices", über die sich verschiedene Dinge, wie beispielsweise der Akku, Sensoren, Lautsprecher, Speicher, eine SIM-Karte oder Solarzellen in das Armband der Apple Watch verschieben ließen.

Unbedingt auf ein dünneres Gehäuse würde ich hieraus resultierend aber nicht hoffen wollen. Über einen entsprechenden (bereits vorhandenen) Anschluss in den Scharnieren am Übergang vom Gehäuse zum Armand ließe sich auf diese Weise vielmehr eine Erweiterung der Kapazitäten des Grundmodells realisieren und ganz nebenbei auch noch ein neuer Zubehör-Markt für die Apple Watch aufbauen. Zu bedenken gilt es allerdings, dass Apple immer wieder jede Menge Patentanträge einreicht, von denen nur ein Bruchteil auch letzten Endes in einem Produkt mündet. Dass das mutlifunktionale Armband für die Apple Watch also tatsächlich irgendwann Realität wird, ist alles andere als gesichert.
Es ist wohl nicht übertrieben zu sagen, dass Apple mit seinem Sprachassistenten Siri inzwischen gegenüber der Konkurrenz aus Google Assistant, Microsofts Cortana oder auch Amazons Alexa ins Hintertreffen geraten ist. Diese Tendenz möchte man nun nach Informationen drer DigiTimes umkehren und Siri in diesem Jahr wieder deutlich aufwerten. Ebenso, wie übrigens auch andere Smartphone-Hersteller, namentlich Samsung, Huawei, LG und Xiaomi. Wenn alles glatt läuft, darf man sich also bereits im Herbst, gemeinsam mit dem iPhone 8 und iOS 11 auf entsprechende Verbesserungen und Neuerungen freuen. Während diese nicht konkret benannt werden, soll Siri allerdings aller Wahrscheinlichkeit nach unter anderem mit einer besseren Spracherkennung und kontextabhängigen Antworten ausgestattet werden.
Unter anderem soll bei den Verbesserungen auch die Übernahme des AI-Startups Turi aus dem vergangenen August eine erhebliche Rolle spielen, um den verlorenen Boden wieder gutzumachen. Dies tut auch dringend Not, bedenkt man, dass offenbar mit Huawai nun auch der nach Apple und Samsung drittgrößte Smartphone-Hersteller in den Markt der persönlichen Sprachassistenten einsteigen will. Dort hat man kürzlich mit dem Mate 9 in den USA ein neues Smartphone an den Start gebracht, welches Amazons Alexa als vorinstallierten Assistenten mitbring und damit Apple und Samsung den Fehdehandschuh ausgelegt hat. Google hatte dies bereits im vergangenen Jahr mit dem Pixel-Smartphone und dem darauf tief integrierten Google Assistant getan.
Samsung soll seinerseits an einem eigenen Assistenten mit dem Namen "Bixby" arbeiten, welcher fest in das Galaxy S8 integriert sein soll, das noch im Frühjahr dieses Jahres erwartet wird und mit dem man das Disaster mit dem Note 7 vergessen machen möchte. Die Zeit drängt also langsam für Apple, in diesem Marktsegment eine Aufholjagd zu starten, ehe die Lücke zur Konkurrenz noch größer wird.
Das Dilemma durch den Wegfall des Klinkenanschlusses beim iPhone 7 nun nicht mehr gleichzeitig ein Ladekabel und einen kabelgebundenen Kopfhörer anschließen zu können, hat für viele Diskussionen gesorgt. All denjenigen, die hiervon betroffen sind, springt nun der Zubehörhersteller Belkin mit seiner RockStar Lightning-Weiche (€ 39,99 bei Amazon) zur Seite. Hierbei handelt es sich um die erste verfügbare Lightning-Weiche für das iPhone 7, die den gleichzeitigen Anschluss von Ladegerät und Lightning-EarPhones ermöglicht und dabei sogar Apples MFi-Siegel trägt. Für das Laden schleift der Belkin RockStar den Strom mit bis zu 12 Watt durch, die Lightning-Kopfhörer werden mit bis zu 48 kHz, 24-Bit Audio-Output angesteuert.
Das gute Stück dürfte einigermaßen reißenden Absatz finden, denn auch wenn man die Weiche nicht ständig benötigen sollte, ist es doch gut zu wissen, dass man könnte wenn man müsste. Optimiert ist der RockStar für das iPhone 7 bzw. iPhone 7 Plus, er funktioniert aber auch mit allen anderen Lightning-Geräten, auf denen iOS 10 läuft. Selbstverständlich werden dabei dann auch alle Befehle der EarPod-Fernbedienung weitergereicht. Was nicht funktioniert ist hingegen das gleichzeitige Anschließen von zwei Ladegeräten oder zwei Kopfhörern, es geht also immer nur die Kombination aus Ladegerät an einem und Kopfhörer am anderen Anschluss.

Die Belkin Rockstar Lightning-Weiche kann ab sofort über den folgenden Link zum Preis von € 39,99 bei Amazon bestellt werden: Belkin RockStar Lightning-Weiche
YouTube Direktlink