Skip to content

Apple-Patent für "iTime" mit großer Ähnlichkeit zur gemunkelten iWatch

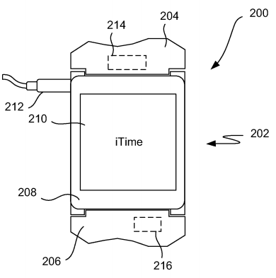
Die iWatch zählt nach wie vor zu den heißesten Gerüchten für den Apple Produkte-Herbst. Während man sich in Cupertino hierzu wie gewohnt ausschweigt, ist nun erstmals ein handfester Hinweis auf Apples Forschungen in Richtung einer Smartwatch aufgetaucht. Das U.S. Patent and Trademark Office hat heute nämlich Apple ein Patent zugesprochen, welches ein Armband mit verschiedenen Sensoren und Übertragungstechniken ausgestattet ist, die es ihm erlauben, mit anderem Geräten, wie beispielsweise einem iOS-Gerät oder einem Mac zu kommunizieren und das auf den Namen "iTime" hört. Dabei findet man auffällig viele Parallelen zu Funktionen und Merkmalen, die auch für die iWatch gehandelt werden. Neu ist hingegen, dass es sich in dem Patent wohl um eine Art Baukastensystem handelt, welches es gestattet, verschiedene Module in das Armband einzusetzen. Da das Patent bereits aus dem Jahre 2011 stammt, liegt die Vermutung nahe, dass Apple hier vor allem den damaligen iPod nano im Hinterkopf hatte. Die verschiedenen Sensoren und Kommunikationsmöglichkeiten gehen aber deutlich über ein bloßes Armband für dieses Gerät hinaus. Passend hierzu beschreibt Apple dann in dem Patent auch die Möglichkeit, auf dem eingeklinkten Modul eingehende Anrufe, Textnachrichten und andere Hinweise anzuzeigen. Auch verschiedene rudimentäre Fitness- und Gesundheitssensoren werden angesprochen. (via AppleInsider)

Während wir das in dem Patent beschriebene Armband in dieser Form wohl eher nicht zu Gesicht bekommen, zeigt es doch sehr anschaulich Apples Bestrebungen in diese Richtung, die dann vermutlich im Herbst in die iWatch münden werden. Ich bin gespannt!

WSJ: Apple ordert zwischen 70 und 80 Millionen iPhone 6

Bereits Anfang des Monats kamen aus Fernost Berichte auf, wonach Apple in diesem Jahr extrem hohe Stückzahlen des iPhone 6 bei seinen Fertigungspartnern in Auftrag gegeben haben soll. Diese Gerüchte werden nun von einem neuen Bericht des Wall Street Journal weiter gestützt. Die Apple durchaus nahestehenden Kollegen berichten von insgesamt zwischen 70 und 80 Millionen Einheiten des 4,7" und 5,5"-Modells, die bis Dezember gefertigt werden sollen. Dies ist ein deutlicher Sprung von den im vergangenen Jahr georderten 50 bis 60 Millionen Einheiten des iPhone 5s und iPhone 5c. Auf diese Weise möchte Apple Lieferengpässe vermeiden, die es im vergangenen Jahr zum Verkaufsstart vor allem des iPhone 5s gegeben hatte. Vor allem die erwarteten Faktoren neues Design und größeres Display könnten die Nachfrage nach dem iPhone 6 nun noch einmal in die Höhe treiben.

Nach wie vor ist jedoch unklar, ob beide Modellvarianten zur selben Zeit auf den Markt kommen oder Apple die größere 5,5"-Version aufgrund von Produktionsschwierigkeiten erst später veröffentlichen kann. Das Wall Street Journal sieht hierbei die Probleme vor allem in der In-Cell Display-Technologie und dem Saphirglas beim 5,5"-Modell.