
Es ist wie in jedem Jahr, kurz bevor ein neues iOS-Release bevorsteht. Der Zulauf an bemerkenswerten neuen Apps nimmt beständig ab. Die Entwickler warten lieber noch zwei, drei Wochen, um ihre App dann gleich für das neue Betriebssystem optimiert in den AppStore zu bringen. Dies dürfte bei iOS 7 nun mehr denn je der Fall sein, schließlich ist dies das erste Mal seit der Vorstellung des ersten iPhone und damit auch des ersten iOS (damals noch "iPhone OS"), dass Apple sämtliche bislang bekannten Designrichtlinien über Bord wirft und neue installiert. Hier gilt es natürlich auch für die Entwickler Schritt zu halten. Somit dürfen wir uns kurz nach der Veröffentlichung von iOS 7 nicht nur auf eine ganze Reihe Updates, sondern auch auf jede Menge neue Apps im iOS 7 Style gefasst machen. Und nun viel Spaß mit den [iOS] AppStore Perlen dieser Woche!
"[iOS] AppStore Perlen 33/13" vollständig lesen

Während die Berichte ob Apple in diesem Jahr bereits ein iPad mini mit Retina-Display auf den Markt bringen wird oder noch nicht in beide Richtungen ausschlagen, berichtet iSuppli (via
Cnet), dass es nun doch auf das hochauflösende Display bei der zweiten Generation hinauslaufen soll. Und nicht nur das. Angeblich soll die Produktion bereits angelaufen sein und sich die Stückzahlen in einem ähnlichen Bereich befinden, wie die der (niedriger auflösenden) Displays für das letztjährige Modell. Dabei soll die Auflösung für das Retina iPad mini der des großen Bruders entsprechen und somit 2.048x1.536 Pixel betragen. Dies macht allein schon aus Kompatibilitätsgründen eine Menge Sinn. Aufgrund der kleineren Displaydiagonalen würde die Pixeldichte mit 324 ppi sogar höher liegen als beim iPad 4 mit 264 ppi. Erwartet werden darf das Retina iPad mini (so es denn kommt) gemeinsam mit dem iPad 5 im Oktober.
In der Regel ist es ja so, dass Gerüchte, die sich lange genug halten, auch am Ende immer ein Stückchen Wahrheit beinhalten. Sollte es so auch bei der gemunkelten goldenen (bzw. champagner-farbenen) Farbvariante des iPhone 5S kommen, wäre ich dennoch ziemlich überrascht. Allerdings erhält dieses Gerücht nun mal wieder neue Nahrung und dieses Mal von niemand geringerem als dem KGI Securities Analysten Ming-Chi Kuo. Auch dieser glaubt nämlich nun, dass das iPhone 5S zusätzlich zu den bisherigen schwarzen und weißen Modellen auch in einer goldenen Variante auf den Markt kommen wird. Drüber hinaus soll Apple die Speicherkapazität des Geräts auf bis zu 128 GB anheben. Dies könnte zugleich bedeuten, dass Apple künftig bei 32 GB beginnen und die 16 GB Variante zumindest beim iPhone 5S einstellen wird. Als weitere Neuerungen erwartet Kuo beim Arbeitsspeicher 1 GB LPDDR3
RAM und einen neuen A7-Prozessor. Letzterer soll auf der neuen
ARMv8 Architektur basieren, etwa die doppelte Performance gegenüber dem A6 liefern und in der Größe um 22% schrumpfen. Bei der Effizienz soll der Unterschied bei 20% gegenüber dem direkten Vorgänger liegen. Unter Umständen könnte es sich bei dem A7-Chip auch erstmals um einen in iOS-Geräten verbauten 64-Bit Prozessor handeln.
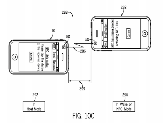
Als weitere Neuerung könnte das iPhone 5S neben dem als einigermaßen sicher geltenden Fingerabdruckssensor auch einen NFC-Chip beinhalten. Apple hat hierzu zumindest einen interessanten Patentantrag eingereicht, der das verschenken oder weitergeben von über iTunes gekauften Medien über diese Technik beschreibt. Wie so oft kann es sich hierbei aber auch lediglich um das Absichern und Schützen eigener Ideen handeln. Ob man das Patent dann in dieser Form irgendwann auch in einem Produkt sehen wird, ist damit noch lange nicht gesagt. (via AppleInsider)

Apple hat in der vergangenen Nacht einigermaßen überraschend die sechste Beta-Version von iOS 7 an seine Entwickler verteilt. Diese Version sollte aktuellen Informationen des
Boy Genius Report zufolge eigentlich erst kommende Woche erscheinen und die letzte Vorabversion sein, ehe Apple dann nach dem iPhone-Event am 10. September, ca. eine Woche vor der erwarteten Veröffentlichung den Golden Master Build an seine Entwickler ausgibt. Geht man nach der Buildnummer 11A4449d (Beta 5 hatte die11A4449a), dürften die Änderungen eher marginal ausfallen. In den Releasenotes gibt Apple an, dass die neue Version ein Problem mit iTunes in der Cloud behebt, durch das bei einem Kauf die falschen Inhalte geladen oder abgespielt werden. Nach der Installation der Beta sollen die Entwickler hierzu zudem ein Konfigurationsprofil installieren, daraufhin den erschienenen "Reset Media Library"-Button in den Musikeinstellungen betätigen und das Gerät einmal neu starten. Sollten sich weitere Neuerungen ergeben, wird diese Artikel entsprechend aktualisiert. Interessanterweise steht bislang noch keine neue Vorabversion von Xcode oder anderer Beta-Software zum Download bereit.