Skip to content

Apples chinesische Fertigungspartner wollen kommende Woche wieder auf 100% laufen

Der vor allem in China grassierende Coronavirus hat inzwischen auch Apple erreicht, wo man nicht nur die eigenen Niederlassungen vorübergehend schloss, sondern eventuell auch mit Einschränkungen bei der Produktion des "iPhone SE 2" rechnen muss. Dies vermeldete kürzlich erst der in der Regel gut informierte Apple-Anaylst Ming-Chi Kuo. Vor allem die verschiedenen in China aktiven Zulieferer fahren momentan nicht auf voller Kapazität. Ein Umstand, der sich jedoch laut Bloomberg in Kürze wieder ändern soll. So plant Apples Haus- und Hoflieferant Foxconn, seine eigenen Kapazitäten ab spätestens dem 10. Februar wieder auf 100% laufen zu lassen.

Inwieweit sich der zwischenzeitliche Produktionsstop in den Fertigungsstätten von Foxconn und Pegatron tatsächlich auf Apple auswirkt, muss abgewartet werden. Angeblich sollte die Massenproduktion des "iPhone SE 2" im laufenden Monat beginnen, ehe der Verkaufsstart angeblich für Ende März angepeilt war.

Apple lässt sich Mechanismus für faltbare Displays patentieren

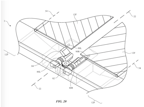
Während Samsung gestern (zumindest meiner Meinung nach) gezeigt hat, wie ein Klapp-Smartphone nicht aussehen sollte, hat Apple nun seinerseits ein Patent für ein klappbares Gerät zugesprochen bekommen. Interessant ist dabei vor allem Apples Ansatz für das Scharnier, welches dank seiner speziellen Konstruktion dafür sorgen soll, dass das Display nicht beschädigt wird, wenn man das Gerät zusammenklappt. So stellt das Bauteil unter anderem sicher, dass sich die beiden Displayhälften im zusammengeklappten Zustand nicht berühren und dabei unter Umständen gegenseitig zerkratzen. In allzu naher Zukunft sollte man allerdings nicht auf ein Klapp-iPhone warten. Es ist davon auszugehen, dass Apple den Markt und die Konkurrenz ganz genau beobachtet und erst dann mit einem eigenen Gerät auf den Markt geht, wenn die Technik wirklich ausgereift ist und eine entsprechende Nachfrage besteht.

Google verschickt versehentlich private Fotos an falsche Nutzer

Nicht nur Apple bietet die Möglichkeit, seine Bilder in der Cloud zu speichern, auch andere Anbieter können mit entsprechenden Lösungen aufwarten. Hierzu gehört freilich auch Google mit seinen "Google Fotos". Und wie bei allen Cloud-Angeboten muss man sich bei entsprechender Nutzung auch darüber im Klaren sein, dass es dabei menchlische oder technische Fehler geben kann. So musste Google nun eingestehen (via The Verge), dass man versehentlich private Fotos von Nutzern an andere Nutzer geschickt hat. Die betroffenen Nutzer wurden inzwischen per E-Mail informiert.

Aufgetreten ist der technische Fehler bei der Nutzung der Google Takeout Funktion zum Download der beim Suchmaschinen-Giganten gespeicherten Daten in der Zeit zwischen dem 21. und dem 25. November vergangenen Jahres. Laut Google waren nur 0,01% der Takeout-Nutzer im genannten Zeitraum betroffen. Das klingt erstmal nach wenig, wenn man jedoch zu den Betroffenen gehört, ist einem das vermutlich ziemlich egal, auch vor dem Hintergrund, dass Google sich mit über einer Milliarde Fotos-Nutzern brüstet. Das Problem sei inzwischen behoben und man habe Maßnahmen ergriffen, dass es nicht erneut auftreten kann, versichert Google.

iCloud.com nun auch für den Zugriff von iPhone und iPad angepasst

Bislang hatte Apple den Zugriff auf seine Webdienste unter iCloud.com ausschließlich für die Nutzung vom Computer aus vorgesehen. Auf den iOS-Geräten stellt man hierfür die auf der Webseit verfügbaren Dienste über die zugehörigen Apps zur Verfügung. Die Nutzung über den mobilen Safari-Browser war hier schlicht nicht vorgesehen, weswegen das Angebot auch nicht auf die kleineren Displaygrößen angepasst wurde. Dies hat sich nun ohne große Ankündigung geändert. Ab sofort ist somit auch die Nutzung von iCloud.com vom iPhone und iPad aus über Safari komfortabel möglich. Sehr praktisch dabei: Man kann sich auf der Webseite neben dem klassischen Eingeben von Apple ID und Passwort auch per Face ID oder Touch ID anmelden.

Allerdings ist der Funktionsumfang auf dem iPhone gegenüber der klassischen Webseite am Rechner dann doch ein wenig eingeschränkt. So hat man lediglich Zugriff auf die Bereiche Fotos, Notizen und "iPhone suchen". Auf dem iPad hingegen hat man Zugriff auf sämtliche Funktionen mit Ausnahme der iWork-Apps.

Apples iPad dominiert weiterhin den weltweiten Tablet-Markt

Ähnlich wie mit dem iPhone beim Smartphone-Markt hat Apple auch den Tablet-Markt mit seinem iPad revolutioniert. Und während das erste iPad bereits vor über zehn Jahren vorgestellt wurde, dominiert es diesen Markt aktuell wie nie zuvor. So berichten die Analysten von IDC, dass Apple seine Vorherrschaft auf dem Tablet-Markt im vierten Quartal 2019 um weitere 6,4% ausbauen konnte, was offenbar vor allem an der hohen Nachfrage nach dem 10,2" iPad liegt. Das aktuelle Einstiegs-iPad hatte Apple im vergangenen September vorgestellt und machte satte 65% der insgesamt 15,9 Millionen iPad?s im Weihnachtsquartal aus. Dank der guten Zahlen kommt Apple in diesem Quartal auf einen Marktanteil von 36,5%. Gegenüber den 12,9 Millionen iPads im vierten Quartal 2018 konnte sich Apple um satte 29,6% steigern.

Auch auf das gesamte Jahr 2019 gesehen konnte das iPad deutlich zulegen. Hier konnte sich Apple insgesamt 34,6% des Marktes sichern und 49,9 Millionen iPads an den Mann bringen. Dies entspricht einer Steigerung von 15,2% gegenüber den 43,3 Millionen im Jahr 2018 verkauften Geräten. Die Zahlen sind umso bemerkenswerter, da der gesamte Tabletmarkt im Jahr 2019 um 1,5% nachgab. Im vierten Quartal waren es allein 0,6%.

Hinter Apple konnte sich der ewige Rivale Samsung die zweite Position sichern, obwohl man einen Rückgang bei den Verkaufszahlen hinnehmen musste. Auf den weiteren Plätzen reihen sich Huawei, Amazon und Lenovo ein.

Für die kommenden Monate dürfte eine neue Generation des iPad Pro in den Startlöchern stehen, die möglicherweise im März auf den Markt kommt. Enthalten sein könnten darin eine Triple-Lens Kamera und evtl. auch 3D-Funktionen für die Kamera auf der Rückseite.

Zur anstehenden Verleihung: Apple reduziert 12 Oscar-Gewinner aus 2019 im iTunes Store

Nachdem Apple im Dezember seine beliebte Countdown-Aktion im iTunes Store durchgeführt hatte, bei dem sich jeden Tag ein neuer Inhalt zum vergünstigten Preis laden lässt, gibt es nun eine weitere Aktion für Film-Fans. Anlass ist die am kommenden Sonntag stattfindende Oscar-Verleihung in Los Angeles. Passend hierzu hat Apple aktuell eine vergünstigte Auswahl von 12 Oscar-Gewinnern aus 2019 für unter € 10,- in den iTunes Store gestellt. Mit dabei sind einige Filme und Filmreihen, die aus meiner Sicht in keiner Sammlung fehlen sollten. Selbstverständlich kann man die Filme, wenn man sie einmal geklauft hat, so oft schauen wie man möchte und auch jederzeit erneut aus dem iTunes Store herunterladen oder streamen.

App-Chaos bei den Vorwahlen in Iowa: Ein Appell gegen die Einführung von Online-Wahlen

Im US-Bundesstaat Iowa begannen in der vergangenen Nacht die Vorwahlen für die US-Präsidentschaftswahlen später in diesem Jahr. Die meisten werden es vermutlich mitbekommen haben, dass sich vor allem die Herausforderer von den Demokraten dabei alles andere als mit Ruhm bekleckert haben. Grund hierfür war vor allem der Einsatz einer Caucus-App, über die die Wahlergebnisse erfasst, ausgewertet und übermittelt werden sollte. Zum Hintergrund: Laut Wikipedia bezeichnet "Caucus" eine Versammlung der Mitglieder und Anhänger einer Partei oder politischen Gruppierung, häufig zur Vorwahl eines Kandidaten für hohe politische Ämter. Dies wurde in den USA bislang so gehandhabt, dass sich die Unterstützer der verschiedenen Bewerber in jeweils einem Bereich eines Raums versammeln und somit ihre Unterstützung zum Ausdruck bringen. Jeder Kandidat, der nicht mindestens 15% der Anwesenden hinter sich bringen kann scheidet aus und die Unterstützer sollen sich einem anderen Bewerber anschließen. Am Ende werden die Unterstützer gezählt und das Ergebnis kummuliert an den Parteivorsitzenden übermittelt.

Letzteres geschah in der Vergangenheit per Telefon. In diesem Jahr wollte man nun einen "moderneren" Weg gehen und entschied sich für den Einsatz einer App. Diese sollte nicht nur die Stimmen erfassen, sondern auch die Ergebnisse übermitteln. Anders als in der Vergangenheit sollten dabei auch Zwischenergebnisse weitergegeben werden. Genau dies sorgte allerdings für die peinliche Situation, dass man die Ergebnisse eben nicht zeitnah übermitteln konnte, da nach Informationen der New York Times drei verschiedene Probleme aufgetreten sind:

  1. Es gab nie eine Sicherheitsüberprüfung der App um sicherzustellen, dass die Ergebnisse nicht manipuliert werden können.
  2. Es gab offenbar keine Nutzer-Tests um die intuitive Bedienung der App sicherzustellen.
  3. Die Offiziellen, die mit der App arbeiten sollten, erhielten ebenfalls keine Einweisung in die App.

Man muss sich schon wundern, wie derlei Probleme in dem wohl hoch-technologisiertesten Land der Erde auftreten können und wie es die Demokraten auf diese Weise schaffen, sich selbst sogar noch dusseliger darzustellen, als es der aktuelle Amtsinhaber tut.

Doch der Reihe nach. Die NYT führt den Cybersecurity-Direktor der Heimatschutzbehörde Homeland Security ins Feld, der angibt, dass die eingesetzte App seiner Behörde zu keiner Zeit zur Prüfung vorgelgt wurde. Genau dies bemängeln auch verschiedene Cybersecurity-Experten gegenüber der Zeitung.

Zum zweiten Punkt zitiert die NYT den Computer-Spezialisten des Lawrence Livermore National Laboratory David Jefferson mit den Worten:

"This app has never been used in any real election or tested at a statewide scale and it’s only been contemplated for use for two months now."

Der Polk County Chairman Sean Bagniewski ergänzt, dass er bereits vor Wochen darauf hingewiesen hatte, dass die App vorab im großen Stile getestet werden müsse, möchte man am Abend der Vorwahlen nicht in Probleme laufen. Dies sei vor allem vor dem Hintergrund wichtig, dass einige der Wähler sich vorher noch nie mit Apps und solchen Dingen auseinandergesetzt hätten:

"When you have an app that you’re sending out to 1,700 people and many of them might be newer to apps and that kind of stuff, it might have been worth doing a couple months’ worth of testing."

Last but not least kannten sich auch die Offiziellen mit der App nicht aus. Zwar gab es im Vorfeld der Vorwahlen verschiedene Trainings zur Auszählung der Stimmen, die eingesetzte App war jedoch nie ein Teil davon, wie Zach Simonson, der Parteivorsitzende in Wapello County angibt. Einige der Wahlmänner hatten die App zum Zeitpunkt der Vorwahlen noch nicht einmal heruntergeladen:

"The app wasn’t included in the chair training that everyone was required to take."

All dies führte zu einem riesigen Chaos bei der Erfassung, Auswertung und Ermittlung der Stimmen. An einigen Orten wo man Zahlen erfasst und vermeldet hatte, gab es Inkonsistenzen zwischen den Ergebnissen der drei Wahlstufen. Bei den Demokraten ist man bemüht, darauf hinzuweisen, dass es sich lediglich um ein Übermittlungsproblem handelt und die korrekten Zahlen sicher erfasst wurden und vorliegen würden. 

Ob dies der Wahrheit entspricht ist dabei schon beinahe nicht mehr wichtig. In einer Zeit, in der ausländische Regierungen in die Wahlen anderer Länder durch Manipulationen oder Meinungsmache eingreifen, muss ein solcher Vorfall der Todesstoß für sämtliche Überlegungen sein, Wahlstimmen künftig online abgeben und erfassen zu lassen. Diese Ansicht vertrete nicht nur ich, sondern unter anderem auch der von der New York Times zitierte Professor für Computerwissenschaften und Recht, Matt Blaze, aus Georgetown und sein Kollege J. Alex Halderman von der University of Michigan teilen:

[...] Any type of app or program that relies on using a cellphone network to deliver results is vulnerable to problems both on the app and on the phones being used to run it, he said.

"The consensus of all experts who have been thinking about this is unequivocal," Mr. Blaze added. "Internet and mobile voting should not be used at this time in civil elections."

Any technology, he said, should be tested and retested by the broader cybersecurity community before being publicly introduced, to test for anything ranging from a small bug to a major vulnerability.

"I think the most important rule of thumb in introducing technology into voting is be extremely conservative," he said […]

J. Alex Halderman, a professor of computer science at the University of Michigan said, "This is an urgent reminder of why online voting is not ready for prime time."

Apple gewährt ersten Blick auf die kommende Apple TV+ Serie "Mythic Quest: Raven's Banquet"

Apple hat auf seinem YouTube-Kanal einen ersten Ausblick auf die kommende Apple TV+ Serie "Mythic Quest: Raven's Banquet" gewährt, die ab dem kommenden Freitag ausgestrahlt wird. Darin geht es um ein Team von Videospiele-Entwicklern, die sich der Herausforderung stellen ein Spiel nach dem Vorbild von World of Warcraft zu betreiben. Apple hatte von "Mythic Quest" neun halbstündige Folgen geordert. Es wird sich bei der Serie um eine der ersten Comedy-Serien für Apple TV+ handeln. Sie stammt aus der Feder von Rob McElhenney und Charlie Day, die vor allem für ihre Arbeit an der Serie "It's Always Sunny in Philadelphia" bekannt sind.



YouTube Direktlink